The Invisible Engineer
Norbert Rillieux’s Revolution
The first light of dawn crept over the Mississippi River, painting the New Orleans sky in streaks of rose and gold. It was September 20, 1892, and the city was already alive with the sound of commerce: the rumble of wagons over cobblestones, the clang of bells from riverboats, and the distant laughter of children weaving through the French Market. The air was thick with the mingled scents of sweet molasses, river mud, and the sharp tang of coal smoke. In the heart of the bustling Sugar District, Norbert Rillieux stood before the massive iron and copper machinery that bore his genius, watching the world he had helped create come to life.
Why should anyone care about a sugar refinery in New Orleans, or about the man who made it run smoother, safer, and sweeter than ever before? Because sugar, Norbert knew, was more than a luxury. It was a force that shaped lives, fortunes, and futures. And, for too long, the story of how it was refined had been a story of suffering and danger, written in the burns and scars of those who worked the boiling kettles. Norbert, a Creole of color born in 1806, had devoted his life to changing that story, even as the world tried to write him out of it.
Norbert’s skin was a warm brown, his hair streaked with silver, and his eyes sharp with both pride and caution. His French-accented English marked him as a man of education, but his manner was gentle, his voice measured. He wore a crisp linen shirt and dark trousers, a concession to the refinery’s heat. He moved with quiet authority among the workers, many of whom were Creoles of color like himself, others Black or white, all bound together by the rhythm of the machines and the promise of a better life.
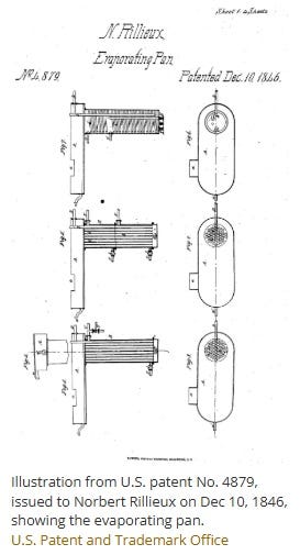
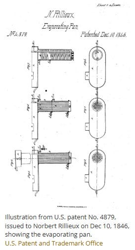
The refinery floor vibrated beneath his feet, alive with the thrum of engines and the hiss of steam. The multiple-effect evaporator, Norbert’s own invention, dominated the room, its polished copper pipes gleaming in the morning light. He ran his hand along the warm metal, feeling the pulse of progress beneath his palm. Its steady rhythm was a comfort, a reminder that his work mattered, even if his name was rarely spoken.
“Careful with that valve, Jules,” Norbert called, his voice carrying over the noise. A young operator, lean and quick-eyed, glanced up from his post beside the gauges. The boy’s hands were steady, but his brow furrowed with concentration. “Oui, Monsieur Rillieux,” he replied, adjusting the pressure with practiced precision. Jules was eager to learn, and Norbert saw in him the same spark of curiosity that had driven his own childhood. Jules’s mother, a devout Catholic, had sent him to the Sisters of the Holy Family for schooling, and his French was as fluent as his English. Like many Creoles of color, Jules straddled worlds, proud of his heritage but wary of the city’s shifting rules.
The refinery was a world of contrasts. The sweet, earthy aroma of boiling cane mingled with the acrid bite of hot metal. Sunlight streamed through high windows, catching motes of dust that danced in the air. The workers moved with purpose, their faces slick with sweat, their voices raised in a mix of French, English, and Creole. Norbert knew each of them by name, understood their strengths and struggles. He treated them with the respect he had so often been denied.
As he made his rounds, a heavyset man in a crisp suit strode onto the floor. Charles Beauregard, the refinery’s owner, was a man of ambition and impatience. His mustache bristled as he surveyed the operation. “Rillieux, the investors will be here within the hour,” he said, his tone clipped. “Everything must be perfect.”
Norbert met his gaze calmly. “The process is stable, Monsieur Beauregard. The sugar will be the purest you’ve ever seen.”
Beauregard’s eyes flicked to the workers, then back to Norbert. “See that it is. Our reputation depends on it.”
As Beauregard moved away, Norbert let out a slow breath. He was used to being both essential and overlooked, a man whose mind was valued but whose heritage was not. Though he had studied in Paris and held patents in his own name, here in Louisiana, he was still a Creole of color, forever on the margins. He remembered his father’s advice, given in French on the gallery of their Esplanade Avenue home: “Mon fils, tu dois être deux fois meilleur pour être vu comme égal.” My son, you must be twice as good to be seen as equal.
A sudden commotion broke his thoughts. Two workers, one Black and one Creole, argued over a shipment of cane. Their voices rose, sharp with frustration and the weight of unspoken histories.
“I told you, it goes to the third vat!” the Creole worker insisted, waving a clipboard.
The Black worker shook his head, stubborn. “That’s not what Beauregard said.”
Norbert stepped between them, his voice firm but kind, switching to French to ease the tension. “Messieurs, we follow the process. The third vat is correct. Trust the system.” He looked at both men, his gaze steady. “We are all here to do good work. Let’s not let others divide us.”
The tension eased, and the men returned to their tasks. Norbert knew that in this place, respect was earned by knowledge and fairness. He had learned to navigate the city’s tangled web of race and class, using his expertise as both shield and sword. He was keenly aware of the divisions that sometimes flared between Creoles of color and Black Americans—divisions of language, custom, and history—but he believed in unity, especially in the face of a society that sought to erase them both.
He paused beside an open window, letting the cool river breeze wash over him. Outside, the city bustled: vendors hawked pralines and beignets, street musicians played lively jazz, and children darted between the carriages. The world was changing, and Norbert felt both exhilarated and uneasy. He had given New Orleans the gift of progress, but at what cost? He thought of the Comité des Citoyens, the group of Creole and Black activists who fought for justice and equality, and wondered if his own quiet revolution would ever be recognized.
As the morning wore on, Norbert retreated to his small office, its shelves lined with notebooks and diagrams. He sat at his desk, fingers stained with ink, and wrote a letter to his friend Émile in Paris.
September 20, 1892. Mon cher ami, today I watched the evaporator turn raw cane into the purest sugar, and I felt both pride and sorrow. My invention is everywhere, yet my name is nowhere. The world enjoys the sweetness, but forgets the hand that made it possible. Still, I persist. For every Jules who learns from me, for every worker who is spared the burns and dangers of the old ways, I know my life has meaning.
A knock at the door interrupted his thoughts. Jules entered, his eyes bright with questions. “Monsieur Rillieux, may I ask you something?”
“Of course, Jules. What is it?”
Jules hesitated, twisting his cap in his hands. “How did you know you could do this? Make something so important?”
Norbert smiled, his gaze softening. “When I was your age, I was curious about everything. I wanted to understand how things worked. My father sent me to Paris, where I learned from the best. But it was here, in New Orleans, that I saw the suffering of the workers. I knew there had to be a better way. So I used what I knew to help others. That is what matters, Jules. Not the recognition, but the impact.”
Jules nodded, his admiration clear. “I want to be like you.”
“You can be,” Norbert said, placing a gentle hand on the boy’s shoulder. “Never let anyone tell you otherwise. Our people have always found ways to survive and help each other. You must do the same.”
The day faded into evening, and the refinery quieted. Norbert walked along the river, the cool breeze carrying the scent of jasmine and distant rain. He listened to the music drifting from the French Quarter, the laughter and song that defined his city. He thought of his mother’s prayers, his father’s lessons, and the women of his community who fed the poor and healed the sick with faith and herbs. He remembered the words of Rodolphe Desdunes, who wrote that Creoles must uplift each other and never forget their worth.
He thought of the future—of children like Jules, of workers whose lives were made safer, of a world that might one day remember his name. He felt the ache of exclusion, but also the deep satisfaction of a life spent in pursuit of knowledge and justice.
The city would go on, its fortunes rising and falling like the tides. But Norbert Rillieux’s legacy would endure, woven into every grain of sugar, every act of quiet courage. He had changed the world, even if the world refused to see him.
As the stars blinked above the Mississippi, Norbert whispered to the night, “Let them taste the sweetness, and remember who made it so.”
In that moment, he was not invisible. He was the heart of New Orleans, the mind behind the miracle, and the hope of every child who dared to dream.

